【最新发布】2025南通道达尚瑞售楼处电话丨南通道达尚瑞售楼部地址丨楼盘位置丨详情丨项目动态

铜川楼市发布 2025-10-15 12:10:33
用手机看
扫描到手机,新闻随时看

扫一扫,用手机看文章
更加方便分享给朋友

南通道达尚瑞售楼处电话✅:400-116-7720转999 ✅南通道达尚瑞营销中心电话☎:400-116-7720转999【营销中心已认证】🥇🥇 南通道达尚瑞营销中心电话☎:400-116-7720转999【营销中心已认证】🥇🥇

南通道达尚瑞售楼处电话✅:400-116-7720转999

南通道达尚瑞营销中心电话☎:400-116-7720转999【营销中心已认证】🥇🥇

南通道达尚瑞营销中心电话☎:400-116-7720转999【营销中心已认证】🥇🥇

项目涵盖建筑面积约127-140㎡高层及149-167㎡洋房产品,打造 TOD 步行友好型社区,构建高效能、低碳生活场景。

道达尚瑞项目是南通轨道置业秉承“双轮驱动,多元发展”的发展理念,匠心践行“TOD+市场”战略,继国城广场、道达元瑞等项目之后开发的又一力作。

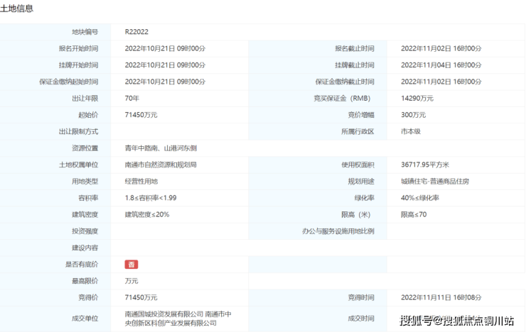
2022年11月4日,轨道国城携手科创产发将创新区R22022地块收入囊中,房屋最高备案指导均价25700/㎡。

根据规划显示,项目共规划5栋18层小高层和9栋9层小高层,部分楼栋首层架空。

南通道达尚瑞售楼处电话✅:400-116-7720转999

南通道达尚瑞营销中心电话☎:400-116-7720转999【营销中心已认证】🥇🥇

南通道达尚瑞营销中心电话☎:400-116-7720转999【营销中心已认证】🥇🥇

声明:本文由入驻焦点开放平台的作者撰写,除焦点官方账号外,观点仅代表作者本人,不代表焦点立场。